工地管理系统
工地管理系统
admin
发布时间:2024-11-24
浏览: 次 智慧工地管理系统是利用物联网、大数据、人工智能等现代信息技术,对建筑施工现场的人员、机械、材料、环境等进行全方位实时监控与管理的一种高效、智能的系统。它通过集成化平台,实现工地管理的数字化、智能化,有效提升了施工安全、质量、效率和管理水平。
一、系统功能
人员管理:
1、通过人脸识别技术,对工地进出人员进行身份验证,确保无关人员无法进入施工现场。
2、记录工人的出勤情况,为工资发放提供依据。
3、利用智能安全帽等设备实现人员实时定位,提高项目管理效率。
设备监控:
1、实时监测塔吊、升降机等大型机械设备的运行状态,预防设备故障引发的安全事故。
2、通过数据分析,预测设备的维护周期和更换时间,降低设备故障率和维修成本。
环境监测:
1、对工地扬尘、噪音、温度、湿度等环境指标进行实时监测。
2、超标时自动启动降尘降噪设备,保护周边环境。
3、提供环保建议和措施,帮助工地实现绿色施工和可持续发展。
质量管理:
1、利用无人机航拍、高清摄像头等设备,对工程质量进行远程巡查,及时发现并纠正质量问题。
2、通过BIM技术进行碰撞检查,减少图纸误差,提高深化设计效率。
安全管理:
1、通过智能穿戴设备监测工人身体状况,预防中暑、疲劳作业等安全隐患。
2、结合视频监控、智能识别等技术手段,自动识别安全隐患和违规行为,并及时发出预警和报警信息。
3、提供在线培训、VR体验等安全教育和培训功能,提高工人的安全意识和技能水平。
进度与资源管理:
1、实时跟踪项目进展,对延误情况进行预警,确保项目按时完成。
2、对原材料的采购、入库、出库和使用进行全面管理,确保材料供应充足且使用合理。
3、通过数据分析,帮助管理者更合理地调配人力、物力资源,降低成本。
信息共享与协同办公:
1、提供协同办公功能,各部门人员可以通过系统进行信息共享,提高工作效率。
2、通过系统分配任务并跟踪完成情况,确保各项工作有序进行。
二、系统优势
1、提高管理效率:通过信息化手段,减少人工巡查成本,提高信息传递速度和准确性。
2、保障安全生产:实时监控与预警机制,有效降低安全事故发生率。
3、提升工程质量:精细化管理有助于及时发现并解决问题,确保工程质量达标。
4、环保节能:环境监测与控制功能,助力绿色施工,减少对环境的负面影响。
5、优化资源配置:数据分析帮助管理者更合理地调配人力、物力资源,降低成本。
三、产品介绍
(一)大屏展示








(二)首页

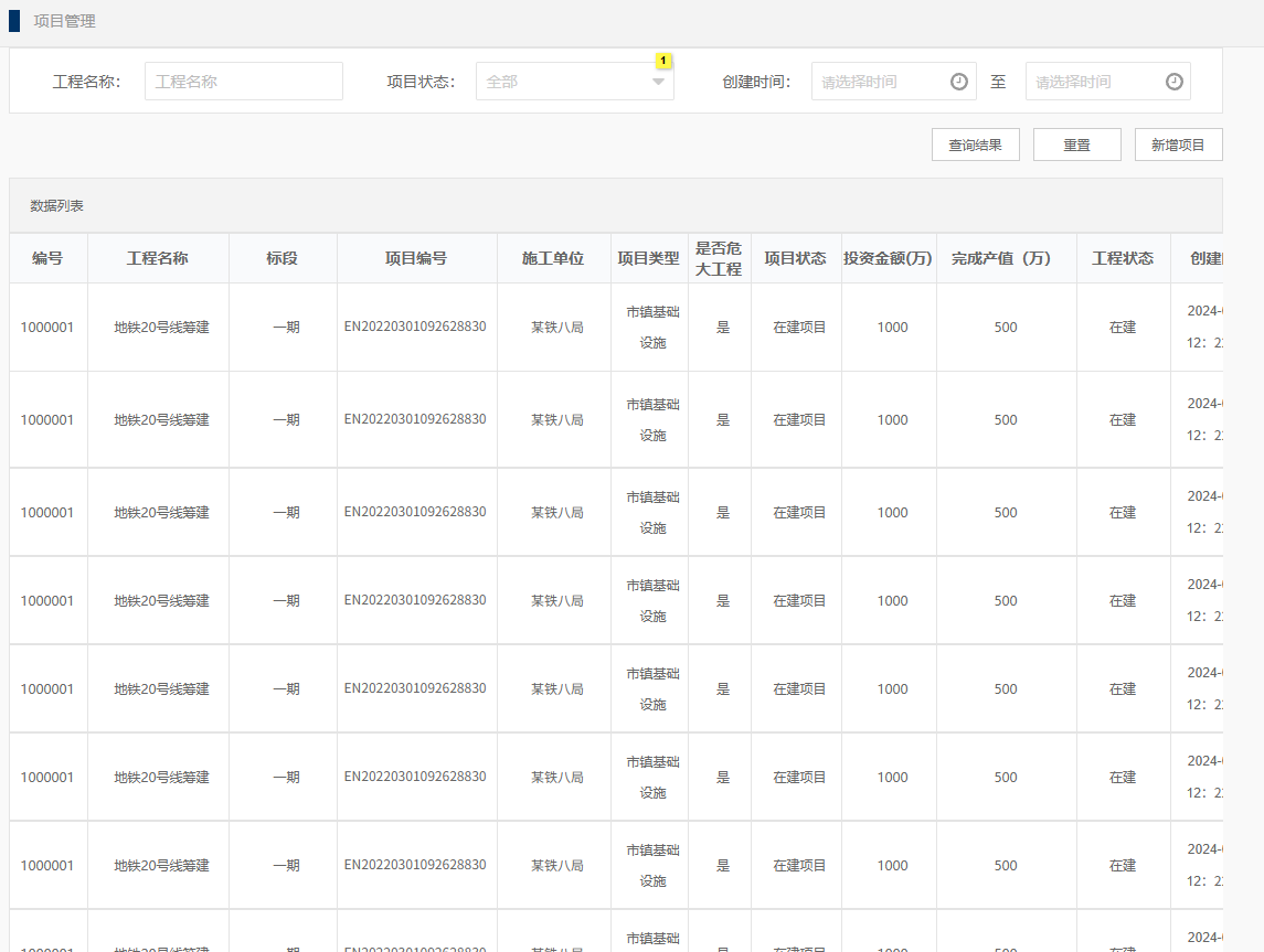
(三)项目管理

(四)质量管理

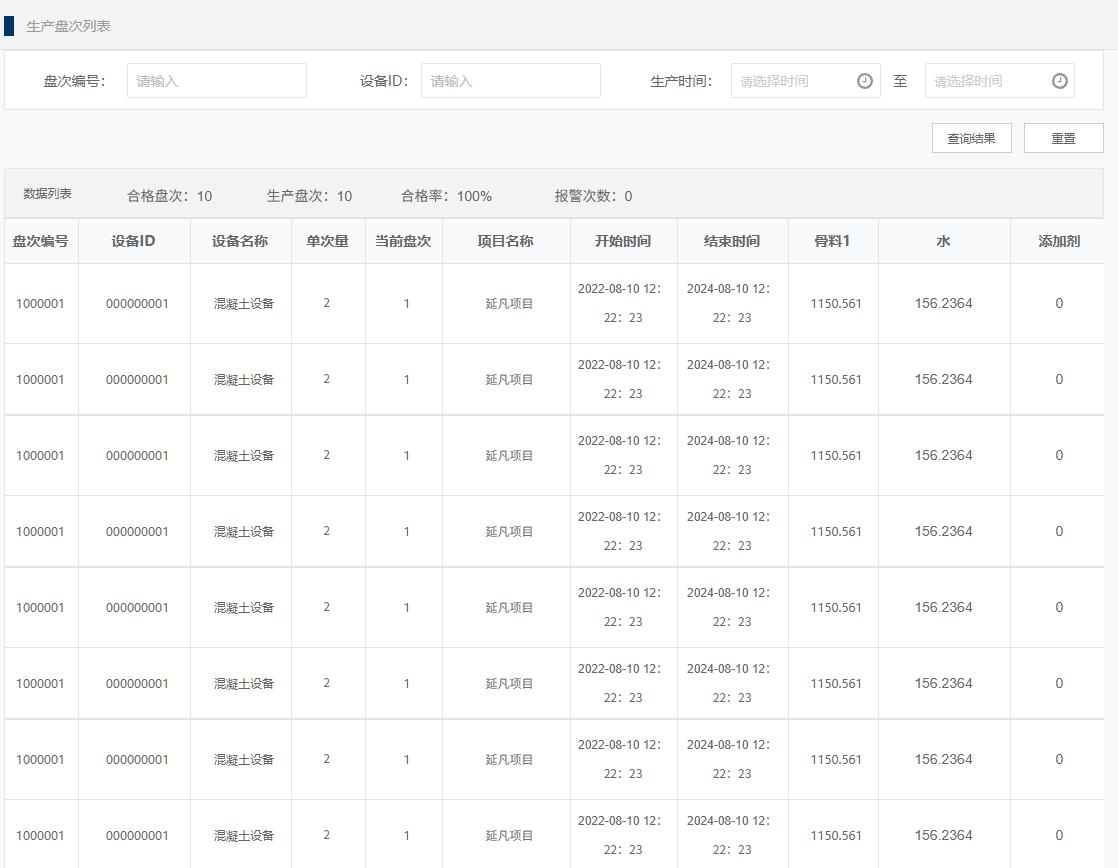
(五)生产管理

(六)车辆管理


